



![]()
![]()

フォーミング加工による一体成型
■ 高品質ステンレス特有の耐久性を発揮。
優れた止水性を実現。
■ 床・巾木・壁の一体化により、水が漏れず、壁面下部が腐らない。
■ 巾木内部に隙間を作らないため、内部発生虫及び隙間での腐敗を防止。
システム化により、幅広い施工方法にも対応。
■ 先付け工法 ■ 後付け工法 ■ 単品図
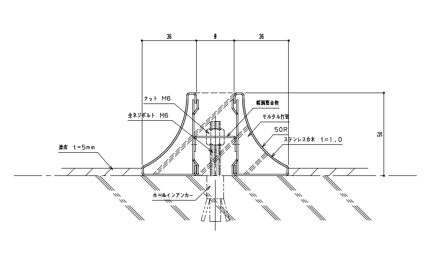
【仕様】SUS304 H 55mm R 50 図面
★抗菌ステンレス鋼 を使用した製品も受注生産いたします。
★注文生産ではH55~300mmまで対応可能です。
ステンレス巾木の特注品てについてはこちら
1.巾木工事 土間にアンカーで固定後、モルタル打込み → 優れた止水性・隙間を作らない
2.パネル工事 巾木天端に専用ランナーを使いパネルを固定 → 専用ランナーによりヒートブリッジを防止・パネル下部の水腐れを防止
3.塗床工事 巾木を定規代わりに塗床を施工 → 床面からR巾木への滑らかな立上がりにより塵だまり防止
1.パネル工事 パネル壁設置
2.巾木工事 取り付ける壁面に巾木固定金物の天端をレベルとして墨出を行い、巾木を設置
3.塗床工事 巾木を定規代わりに塗床を施工し、床面からR巾木への滑らかな立ち上がりにより塵だまり防止